5. Exercises
Förberedande Mekanik
| Theory | Exercises |
Exercise 5.1
1. A particle of mass 20 kg is at rest on a rough slope inclined at 20\displaystyle {}^\circ to the horizontal.
a) Draw a diagram to show the forces acting on the particle.
b) Find the magnitude of the normal reaction force acting on the particle.
c) Find the magnitude of the friction force acting on the particle.
d) Find an inequality that \displaystyle \mu , the coefficient of friction between the particle and the plane, must satisfy.
Exercise 5.2
An object, of mass 50 kg, is supported by two ropes, as shown in the diagram below. The diagram also shows how gravity acts on the object.
a) Find \displaystyle {{T}_{1}}.
b) Find \displaystyle {{T}_{2}}.
Exercise 5.3
Four cables are attached to the top of a telegraph pole. The tensions in these cables are shown in the diagram below. The forces acting on the pole are in equilibrium.
Assume that all the forces act in a horizontal plane.
(a) Express the force with magnitude Q in terms of the unit vectors \displaystyle \mathbf{i} and \displaystyle \mathbf{j}. (b) Find Q and the angle \displaystyle \alpha .
Exercise 5.4
The diagram shows a block, of mass 20 kg, at rest on a rough slope inclined at 30\displaystyle {}^\circ to the horizontal.
a) Draw a diagram to show the forces acting on the block.
b) Calculate the magnitude of each force acting on the block.
c) Find the minimum value of the coefficient of friction between the block and the slope, correct to 2 significant figures.
Exercise 5.5
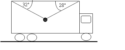
A tank, of mass 500 kg, is being pulled across rough horizontal ground. The coefficient of friction between the tank and the ground is 0.3. A force is applied to the tank as shown in the diagram.
The tank slides when the force is applied.
a) Express the 5000N force as a vector in terms of the unit vectors \displaystyle \mathbf{i} and \displaystyle \mathbf{j}.
b) Find the magnitude of the normal reaction force acting on the tank.
c) Calculate the magnitude of the friction force acting on the tank.
d) Find the magnitude of the resultant force on the tank.
Exercise 5.6
A skier, of mass 72 kg, travels down a slope, at 20\displaystyle {}^\circ to the horizontal, at a constant speed and moves in a straight line.
a) Are the forces acting on the skier in equilibrium ? Give reasons for your answer.
b) Draw a diagram to show the forces acting on the skier.
c) If the coefficient of friction between the skier and the snow is 0.2, find the magnitude of the air resistance force acting on the skier.
Exercise 5.7
A sphere, of mass 40 kg, is supported, in equilibrium, by two strings and a spring as shown in the diagram below. The tension in the horizontal string is 45 N.
a) Find the tension, T, in the other string.
b) Find the magnitude of the force exerted by the spring and state whether the spring is in tension or compression.
Exercise 5.8
Hämtar...